LeEco объявила цены на флагманский Le Pro 3
Младшая версия смартфона — с 3 ГБ оперативки — обойдется в 24 990 рублей.
Младшая версия смартфона — с 3 ГБ оперативки — обойдется в 24 990 рублей.
Младшая, 5-дюймовая версия Nokia D1C, будет продаваться по цене 150 долларов.
Специальное обновление программного обеспечения смартфона выйдет 19 декабря.
Речь, возможно, идет об ограниченном тираже и продажах только в Китае.
Купить Meizu M5 Note можно будет в Китае по цене 8 400 рублей за минимальную конфигурацию.
Первые смартфоны под брендом Nokia планируют показать на выставке MWC 2017 в Барселоне.
Устройство под названием YAAO 6000 Plus оснащено батареей на 10 900 мАч.
Среди особенностей — топовая начинка, камера со стабилизацией и мощный аудиопроцессор.
Согласно прогнозам, в будущей линейке iPhone один из новых смартфонов получит OLED-экран.
Новинка, оснащенная процессором Snapdragon 821, дебютирует на следующей неделе.
Компания Apple разрабатывает новую камеру для iPhone 8, которая сможет делать 3D-фотографии.
Всего на презентации показали пять новых устройств, а также аксессуары Moto Mods.
Также сообщается, что у новой Nokia будет QHD-дисплей с диагональю 5,2-5,5 дюйма.
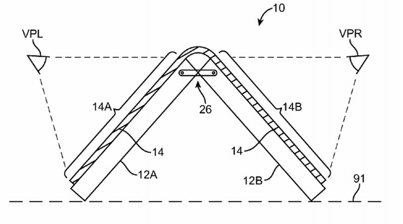
В документе описывается аппарат, на половинках корпуса которого расположены секции дисплея.
Одна из главных фишек — обновленный дисплей, который теперь распознает силу нажатий.